- Gratis bezorging
- 5 jaar garantie
- Een 9.2 uit 10.024 beoordelingen
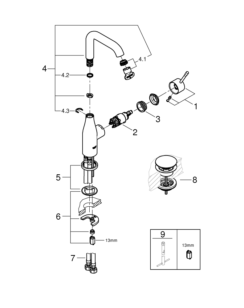
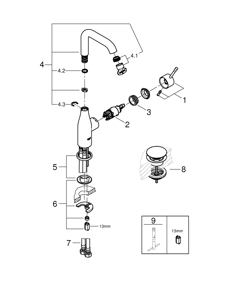
GROHE Essence Wastafelkraan Opbouw - uitloop 12.7cm - L-size - gladde body - chroom
Alternatieve producten
GROHE Essence Wastafelkraan Opbouw - uitloop 12.7cm - L-size - gladde body - chroom
Een wastafelkraan die niet alleen functioneel is, maar ook een stijlvolle toevoeging aan jouw badkamer vormt. Met zijn strakke, gladde design en hoogwaardige chromen afwerking geeft deze kraan je wastafel een moderne en frisse uitstraling. De soepele bediening en het doordachte ontwerp zorgen ervoor dat je dagelijks geniet van optimaal comfort en gebruiksgemak. Dankzij de draaibare uitloop met een royaal bereik pas je de waterstraal eenvoudig aan, precies zoals jij dat wilt. Bovendien draagt de geïntegreerde waterbesparende technologie bij aan een duurzame badkamer, zonder in te leveren op kracht of kwaliteit. Zo transformeer je jouw badkamer in een plek waar stijl en functionaliteit hand in hand gaan.
Stijlvol
Deze kraan valt direct op door zijn minimalistische en moderne uitstraling. De glanzende chromen afwerking geeft een luxe gevoel en past moeiteloos in uiteenlopende badkamerstijlen. De gladde body zorgt voor een strakke look die bovendien eenvoudig schoon te houden is. Door het tijdloze design blijft de kraan jarenlang een blikvanger, waardoor je badkamer er altijd verzorgd en eigentijds uitziet. Met deze kraan kies je voor een stijlvolle oplossing die jouw badkamer een subtiele upgrade geeft.
Duurzaam
Gemaakt van hoogwaardig messing en voorzien van een duurzame chroomlaag die bestand is tegen krassen en slijtage, is deze kraan gebouwd om lang mee te gaan. De betrouwbare keramische cartridge zorgt voor een soepele en nauwkeurige bediening, terwijl de geïntegreerde temperatuurbegrenzer extra veiligheid biedt. Daarnaast helpt de waterbesparende technologie je om bewust om te gaan met water, zonder dat je inlevert op de waterdruk of het comfort. Zo investeer je in een kraan die niet alleen mooi is, maar ook duurzaam en milieuvriendelijk.
Functioneel
Met een uitloop van 12,7 cm en een draaibereik van 360 graden biedt deze kraan maximale flexibiliteit. Of je nu je handen wast, een emmer vult of de wastafel schoonmaakt, je past de waterstraal eenvoudig aan jouw wensen aan. Het snelbevestigingssysteem maakt de installatie eenvoudig en snel, terwijl de geïntegreerde mousseur zorgt voor een perfecte, spettervrije waterstraal. De metalen greep ligt prettig in de hand en maakt het regelen van temperatuur en waterhoeveelheid moeiteloos. Zo geniet je van een kraan die niet alleen mooi is, maar ook praktisch in gebruik.
Kenmerken:
- Uitlooplengte van 12,7 cm voor optimaal gebruiksgemak
- Gladde chromen body die eenvoudig schoon te houden is
- Gemaakt van duurzaam messing met krasbestendige chroomlaag
- GROHE SilkMove 28 mm keramische cartridge voor soepele bediening
- Geïntegreerde drukafhankelijke temperatuurbegrenzer voor extra veiligheid
- Waterbesparende technologie met maximaal 5 liter per minuut
- Draaibare uitloop met instelbaar zwenkbereik tot 360 graden
- Snelle en eenvoudige montage dankzij FastFixation Plus systeem
- Metalen greep voor een stevige en comfortabele bediening
- Inclusief flexibele aansluitslangen voor eenvoudige installatie
Met deze wastafelkraan kies je voor een perfecte combinatie van stijl, duurzaamheid en gebruiksgemak. Maak je droombadkamer compleet met dit stijlvolle meubel en ervaar zelf de kwaliteit.
| Artikelnummer | SW702117 | |
| Leveranciernummer | 24182001 | |
| EAN | 4005176698484 | |
| Merk | Grohe | |
| Serie | Essence |
Technische informatie
| Hoogte | 24.4 cm | |
| Montage | opbouw | |
| Voorsprong uitloop | 12.7 cm | |
| Aansluiting aanvoer | Slang (wartel) | |
| Afsluitmechanisme | cartouche keramisch | |
| Aantal functies | 1 functie | |
| Hoogte kraan | Standaard | |
| Waterdruk | 5.7L/M |
Productinformatie
Features
| Waterbesparend | Neen | |
| Met grepen | Ja | |
| Met handdouche | Neen | |
| Thermostatisch | Neen | |
| Temperatuurbegrenzing | Ja | |
| Uittrekbare uitloop | Neen | |
| Voor lagedrukboiler | Neen | |
| Met afdekrozet | Ja | |
| Uittrekbaar | Neen |
Meer informatie
| Garantie | 5 jaar |
![]() |
Denk je aan een kranenmerk? Dan denk je waarschijnlijk aan GROHE. Dit van oorsprong Duitse merk is toonaangevend in de badkamerwereld. Het assortiment van GROHE is zeer breed en voor iedere prijsklasse geschikt. Hun kernwaarden zijn kwaliteit, technologie, design en duurzaamheid. En deze waarden vind je bij elk GROHE-product terug. |
Garantie van Grohe
Hoogwaardige materialen, de nieuwste productiemethoden in combinatie met toonaangevende technologieën garanderen betrouwbare prestaties voor vele jaren. Dit wordt weerspiegeld in de 5 jaar fabrieksgarantie. GROHE maakt de belofte waar dat je topprestaties van ze mag verwachten. Geniet van uniek comfort en uitstekende functionaliteiten. Je hebt hun woord dat je kan vertrouwen op GROHE producten. Gegarandeerd.
Bezorgen
In de winkelwagen zie je de verwachte leverdatum van de totale bestelling. Kies zelf een bezorgdag.
Gratis afhalen in showroom
Het is mogelijk om dit product gratis af te halen in één van onze showrooms. Bekijk hieronder een indicatie van de afhaaldatum per showroom. Rond de bestelling online af en geef in het bestelproces aan in welke showroom je jouw bestelling wenst af te halen.Is dit artikel een showroommodel? Dan kun je deze maximaal 1 dag reserveren en alleen betalen in de betreffende showroom.
| Hasselt | Bestel en haal af vanaf 17-01-2026 |
|---|---|
| Schoten | Bestel en haal af vanaf 17-01-2026 |
| Zaventem | Bestel en haal af vanaf 17-01-2026 |
Gratis retourneren in onze showrooms
Toch niet helemaal tevreden over dit product? Geen zorgen! Je kunt het ontvangen product (m.u.v. tegels) retour sturen binnen 30 dagen na ontvangst.Alle betalingen ontvang je terug op dezelfde wijze waarop je betaald hebt, in ieder geval binnen 14 dagen vanaf de retourdatum.
